用人单位职业病危害现状评价(Current Status Assessment of Occupational Disease Hazards in the Workplace)
在正常生产状况下,职业卫生技术服务机构对用人单位工作场所职业病危害因素及其劳动者接触水平、职业病防护设施与措施及其防控效果、职业病危害因素对劳动者的健康影响等进行综合评价的一种技术服务活动。
一、法律依据
㈠《工作场所职业卫生管理规定》(国家卫生健康委员会令第5号)
第二十条 职业病危害严重的用人单位,应当委托具有相应资质的职业卫生技术服务机构,每年至少进行一次职业病危害因素检测,每三年至少进行一次职业病危害现状评价。
职业病危害一般的用人单位,应当委托具有相应资质的职业卫生技术服务机构,每三年至少进行一次职业病危害因素检测。
检测、评价结果应当存入本单位职业卫生档案,并向卫生健康主管部门报告和劳动者公布。
第二十一条 存在职业病危害的用人单位发生职业病危害事故或者国家卫生健康委规定的其他情形的,应当及时委托具有相应资质的职业卫生技术服务机构进行职业病危害现状评价。
用人单位应当落实职业病危害现状评价报告中提出的建议和措施,并将职业病危害现状评价结果及整改情况存入本单位职业卫生档案。
第二十二条 用人单位在日常的职业病危害监测或者定期检测、现状评价过程中,发现工作场所职业病危害因素不符合国家职业卫生标准和卫生要求时,应当立即采取相应治理措施,确保其符合职业卫生环境和条件的要求;仍然达不到国家职业卫生标准和卫生要求的,必须停止存在职业病危害因素的作业;职业病危害因素经治理后,符合国家职业卫生标准和卫生要求的,方可重新作业。
第五十条 用人单位有下列情形之一的,责令限期改正,给予警告;逾期未改正的,处五万元以上二十万元以下的罚款;情节严重的,责令停止产生职业病危害的作业,或者提请有关人民政府按照国务院规定的权限责令关闭:
(四)未按照规定对工作场所职业病危害因素进行检测、现状评价的;
第五十七条 本规定下列用语的含义:
职业病危害严重的用人单位,是指建设项目职业病危害风险分类管理目录中所列职业病危害严重行业的用人单位。建设项目职业病危害风险分类管理目录由国家卫生健康委公布。各省级卫生健康主管部门可以根据本地区实际情况,对分类管理目录作出补充规定。
二、技术规范
㈠《职业卫生技术服务工作规范》(GBZ 331—2024);
㈡《用人单位职业病危害现状评价技术导则》(WS∕T 751—2015,原AQ∕T 4270—2015)。
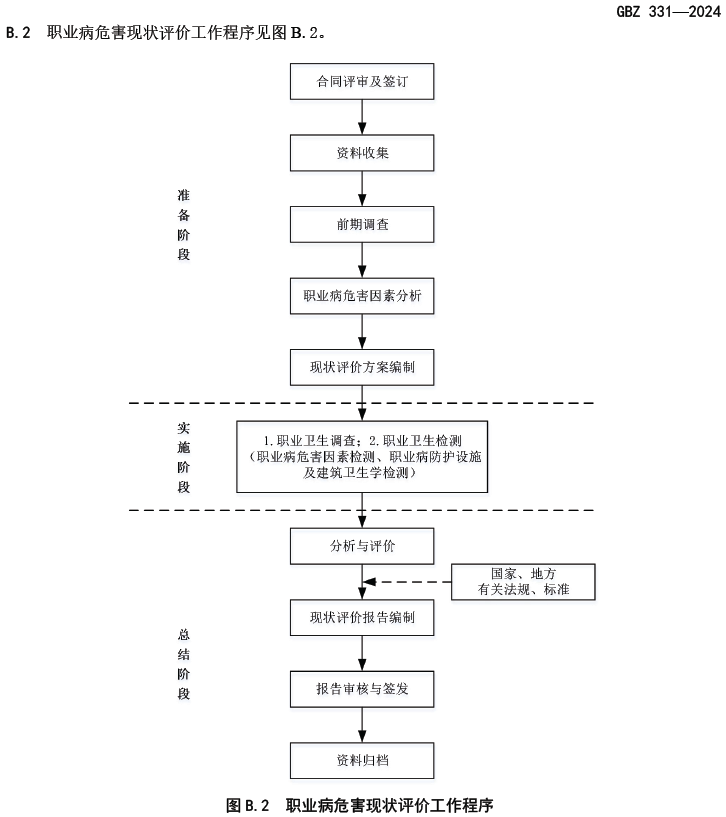
三、工作程序

稳健发展
资质荣誉
高素质人才
检测实验室
客户信赖